SGD has been granted a patent for a fused tuckstone designed for glass furnaces. The tuckstone features specific surface characteristics, including a “skin microstructure” with a crystal density more than four times higher at a certain depth. This innovation aims to improve the performance and durability of glass furnace components. GlobalData’s report on SGD gives a 360-degree view of the company including its patenting strategy. Buy the report here.
Discover B2B Marketing That Performs
Combine business intelligence and editorial excellence to reach engaged professionals across 36 leading media platforms.
According to GlobalData’s company profile on SGD, was a key innovation area identified from patents. SGD's grant share as of March 2024 was 77%. Grant share is based on the ratio of number of grants to total number of patents.
Patent granted for fused tuckstone with specific crystal density

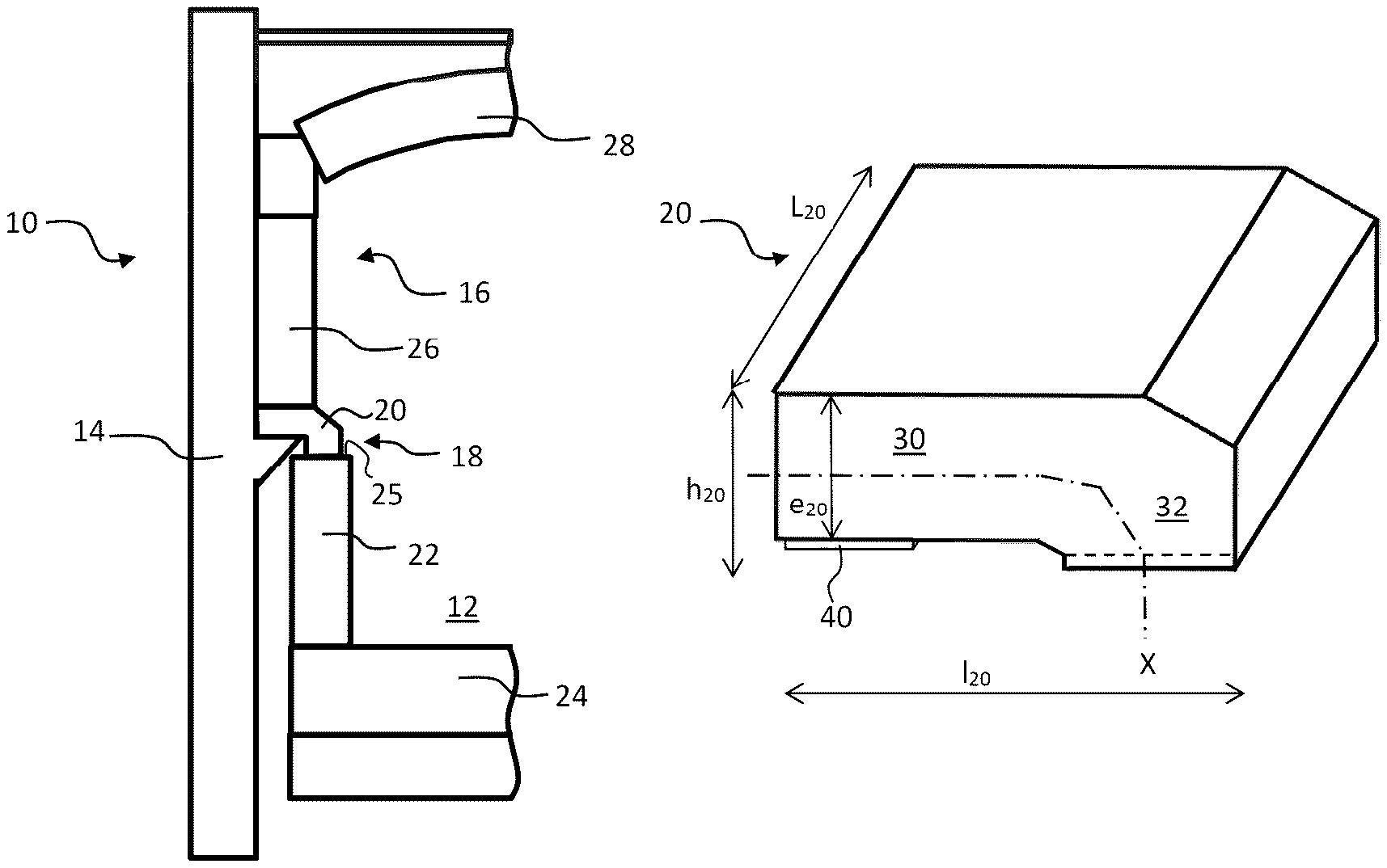
A recently granted patent (Publication Number: US11964900B2) discloses a fused tuckstone designed for use in glass furnaces. The tuckstone features a lower surface with specific characteristics, including a support surface for resting on a metallic structure, a tank surface facing the tank edge, and a lower transition surface with a unique crystal density. The upper surface of the tuckstone is intended to receive the superstructure's side wall, with an upper transition surface connecting it to the lower surface. The patent emphasizes the crystal density of various surfaces within the tuckstone, with specific requirements outlined for different parts of the structure.
Furthermore, the patent details the chemical composition of the fused tuckstone, highlighting the percentage of oxides such as Al2O3, ZrO2, and SiO2. The document also includes claims related to the presence of a zirconia stabilizer, the distribution of oxide types, and the crystal density requirements for different surfaces. Additionally, methods for the production of the fused tuckstone are described, involving steps such as mixing raw materials, casting molten material, and machining the intermediate piece to obtain the final tuckstone. The patent also covers the integration of the tuckstone into a glass furnace structure, emphasizing its role in supporting the superstructure and tank while maintaining specific surface characteristics.
To know more about GlobalData’s detailed insights on SGD, buy the report here.
Data Insights
From
The gold standard of business intelligence.
Blending expert knowledge with cutting-edge technology, GlobalData’s unrivalled proprietary data will enable you to decode what’s happening in your market. You can make better informed decisions and gain a future-proof advantage over your competitors.

