Alpla Werke Alwin Lehner GmbH and Co patented a plastic container made from a preform with over 80% polyester and additives. The container is reshaped using a 2-stage stretch blow moulding method, with sharp edges less than 0.5 mm. The polyester is a copolyester with specific monomer origins. GlobalData’s report on Alpla Werke Alwin Lehner GmbH and Co gives a 360-degree view of the company including its patenting strategy. Buy the report here.
Discover B2B Marketing That Performs
Combine business intelligence and editorial excellence to reach engaged professionals across 36 leading media platforms.
According to GlobalData’s company profile on Alpla Werke Alwin Lehner GmbH and Co, Plastic recycling was a key innovation area identified from patents. Alpla Werke Alwin Lehner GmbH and Co's grant share as of March 2024 was 46%. Grant share is based on the ratio of number of grants to total number of patents.
Plastic container with sharp edge, manufactured by blow molding

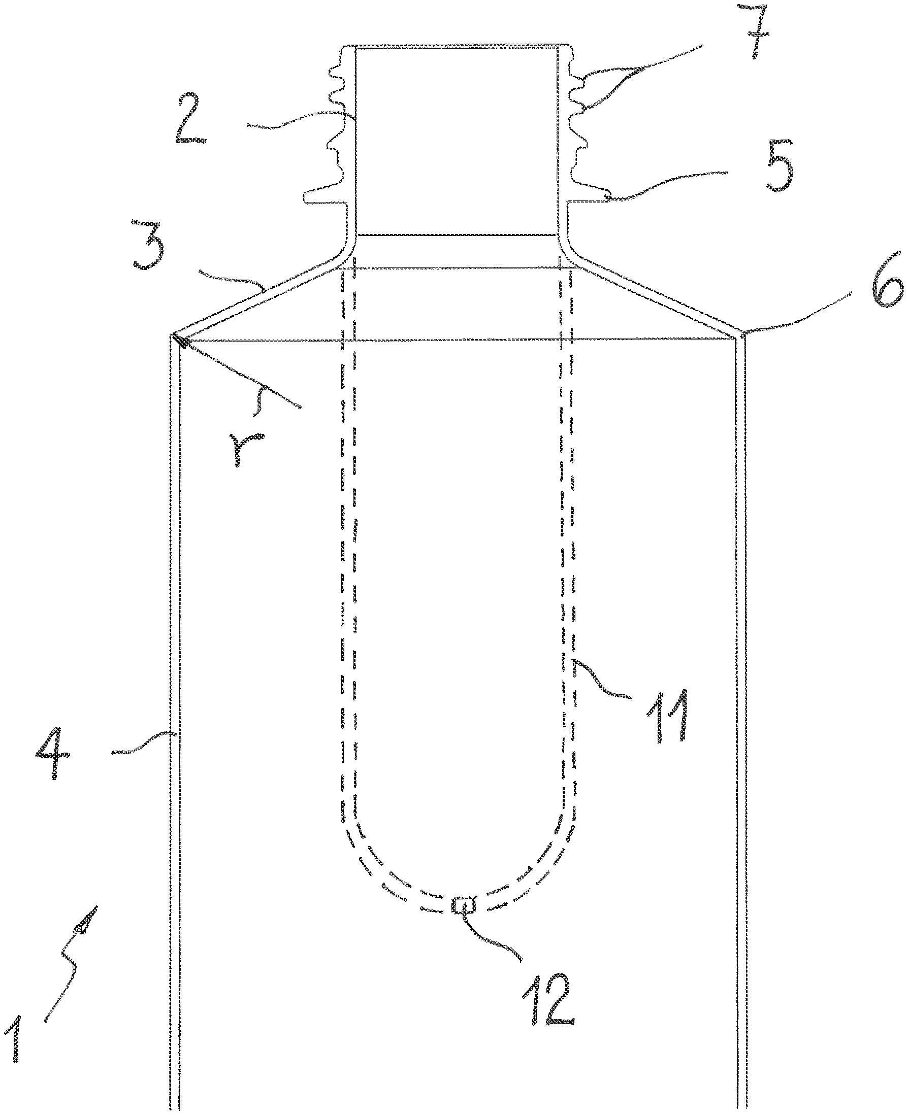
A recently granted patent (Publication Number: US11912458B2) discloses a plastic container manufactured from a preform with a high mass share of polyester and various additives. The container features a unique design with a container neck, shoulder, body, and base exclusively reshaped through a 2-stage stretch blow molding method. The polyester used is a copolyester containing specific monomers like cyclohexanedimethanol (CHDM), monoethylene glycol (MEG), terephthalic acid (TPA), and isophthalic acid (IPA). Additionally, the container body and/or shoulder may have sharp edges with a radius of less than 0.5 mm, enhancing its structural integrity.
Furthermore, the patent details specific characteristics of the copolyester used in the plastic container, such as intrinsic viscosity, density, and composition of diol and dicarboxylic acid shares. The method of manufacturing the plastic container involves stretching the preform body along its middle axis during blow molding, with the sharp edge having a radius of less than 0.3 mm. The container can be designed as a one-piece container with single-layered or multi-layered walls, and the sharp edge may be present at the transition between the container shoulder and body. The manufacturing method includes stretching the preform body using a stretching mandrel and applying fluid pressure and heat to shape out the container components accurately. The copolyester's intrinsic viscosity ranges from 0.60 dl/g to 0.73 dl/g, and the sharp edge can have a radius of less than 0.1 mm, further highlighting the precision and quality of the plastic container design.
To know more about GlobalData’s detailed insights on Alpla Werke Alwin Lehner GmbH and Co, buy the report here.
Data Insights
From
The gold standard of business intelligence.
Blending expert knowledge with cutting-edge technology, GlobalData’s unrivalled proprietary data will enable you to decode what’s happening in your market. You can make better informed decisions and gain a future-proof advantage over your competitors.

